
|
|
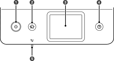
Bật hoặc tắt máy in. Rút phích cắm điện sau khi kiểm tra thấy đèn nguồn tắt. |
|
|
Hiển thị màn hình chính. |
|
|
Hiển thị các menu và thông báo. |
|
|
Hiển thị những giải pháp khi bạn gặp sự cố. |
|
|
Bật khi các tài liệu đã nhận — chưa được đọc, in hoặc lưu — được lưu trữ vào bộ nhớ máy in. |
* Chỉ dành cho ET-5170 Series/L6490 Series