
|
|
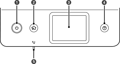
Permet d’allumer ou d’éteindre l’imprimante. Débranchez le cordon d’alimentation après avoir vérifié que le voyant d’alimentation était éteint. |
|
|
Affiche l’écran d’accueil. |
|
|
Affiche les menus et les messages. |
|
|
Affiche les solutions lorsque vous avez des problèmes. |
|
|
S’allume lorsque les documents reçus qui n’ont pas encore été lus, imprimés ou enregistrés sont stockés dans la mémoire de l’imprimante. |
* Seulement pour ET-5170 Series/L6490 Series