
|
|
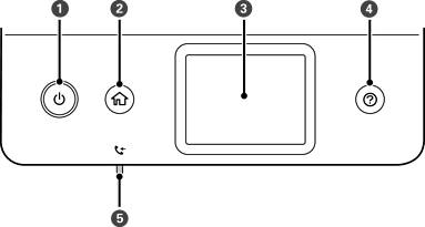
Uključivanje ili isključivanje pisača. Iskopčajte kabel za napajanje kada lampica napajanja prestane svijetliti. |
|
|
Prikaz početnog zaslona. |
|
|
Prikaz izbornika i poruka. |
|
|
Prikaz rješenja kada imate poteškoća. |
|
|
Uključuje se ako primljeni dokumenti još nisu pročitani, ispisani, spremljeni ili pohranjeni u memoriju pisača. |
* Samo za ET-5170 Series/L6490 Series