
|
|
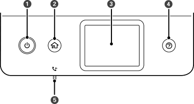
Принтерийг асааж унтраана. Тэжээлийн гэрэл унтарсныг шалгасны дараагаар тэжээлийн залгуурыг салгана. |
|
|
Үндсэн дэлгэцийг харуулна. |
|
|
Цэс, мэдээллийг харуулна. |
|
|
Танд асуудал тулгарахад шийдлийг харуулна. |
|
|
Хараахан уншиж, хэвлэж, хадгалж амжаагүй хүлээн авсан баримтууд принтерийн санах ойд хадгалагдахад асна. |
* Зөвхөн ET-5170 Series/L6490 Series