
|
|
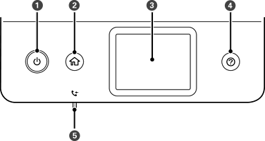
Hiermee schakelt u de printer in of uit. Haal het netsnoer uit het stopcontact nadat u hebt gecontroleerd of het aan/uit-lampje uit staat. |
|
|
Hiermee opent u het startscherm. |
|
|
Hiermee geeft u menu's en berichten weer. |
|
|
Hiermee worden de oplossingen weergegeven wanneer u problemen ondervindt. |
|
|
Gaat branden wanneer ontvangen documenten die nog niet gelezen, afgedrukt of opgeslagen zijn, in het geheugen van de printer staan. |
* Alleen voor de ET-5170 Series/L6490 Series