
|
|
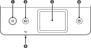
Włączenie lub wyłączenie drukarki. Przewód zasilający należy odłączyć po upewnieniu się, że kontrolka zasilania nie świeci. |
|
|
Umożliwia wyświetlanie ekranu głównego. |
|
|
Wyświetlenie menu i komunikatów. |
|
|
Wyświetlenie rozwiązań w przypadku wystąpienia problemów. |
|
|
Włącza się, gdy w pamięci drukarki przechowywane są odebrane dokumenty, które jeszcze nie zostały odczytane, wydrukowane ani zapisane. |
* Tylko ET-5170 Series/L6490 Series