
|
|
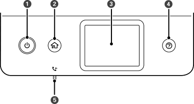
Pornește sau oprește imprimanta. Deconectați cablul de alimentare după ce verificați că indicatorul de alimentare s-a stins. |
|
|
Afișează ecranul principal. |
|
|
Determină afișarea meniurilor și mesajelor. |
|
|
Afișează soluții atunci când întâmpinați probleme. |
|
|
Se aprinde atunci când în memoria imprimantei există documente necitite, neimprimate sau nesalvate. |
* Doar pentru ET-5170 Series/L6490 Series