
|
|
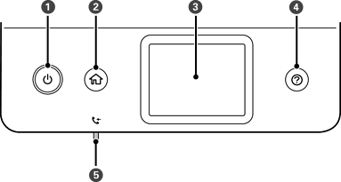
Printerni yoqadi yoki o‘chiradi. Quvvat chirog‘i o‘chganini tekshirgandan keyin ta’minot shnurini rozetkadan uzing. |
|
|
Bosh ekranni namoyish qiladi. |
|
|
Menyular va xabarlarni namoyish qiladi. |
|
|
Muammoning yechimlarini ko‘rsatadi. |
|
|
Olingan hujjatlar hali o‘qilmagan, chop etilmagan, saqlanmagan holda printer xotirasida turganida yonadi. |
* Faqat ET-5170 Series/L6490 Series uchun