
|
|
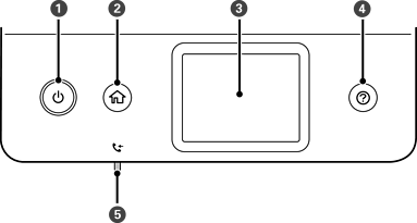
Tænder eller slukker for printeren. Tag strømkablet ud, efter du har kontrolleret, at strømindikatoren er slukket. |
|
|
Viser startskærmen. |
|
|
Viser menuer og meddelelser. |
|
|
Viser løsninger, når du oplever problemer. |
|
|
Tændes, når modtagne dokumenter, som endnu ikke er blevet læst, udskrevet eller gemt, er gemt i printerens hukommelse. |