
|
|
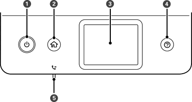
Dient zum Ein- bzw. Ausschalten des Druckers. Ziehen Sie den Netzstecker, sobald die Betriebsanzeige aus ist. |
|
|
Zeigt die Startseite an. |
|
|
Zeigt Menüs und Meldungen an. |
|
|
Zeigt Lösungsvorschläge bei einem Problem an. |
|
|
Wird eingeschaltet, wenn empfangene Dokumente, die noch nicht gelesen, gedruckt oder gespeichert wurden, im Druckerspeicher abgelegt werden. |