
|
|
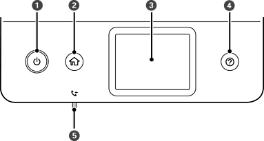
Turns the printer on or off. Unplug the power cord after checking that the power light is off. |
|
|
Displays the home screen. |
|
|
Displays menus and messages. |
|
|
Displays the solutions when you are in trouble. |
|
|
Turns on when received documents that have not yet been read, printed, or saved, are stored in the printer's memory. |