
|
|
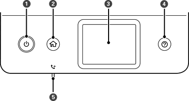
प्रिंटर चालू या बंद करता है। पावर लाइट बंद होने पर, पावर कॉर्ड अनप्लग करें। |
|
|
होम स्क्रीन प्रदर्शित करता है। |
|
|
मेनू और संदेश प्रदर्शित करता है। |
|
|
जब आप परेशानी में होते हैं तो हल प्रदर्शित करता है। |
|
|
जब ऐसे प्राप्त दस्तावेज़ जिन्हें अभी तक पढ़ा नहीं गया हो, प्रिंट नहीं किया गया हो, सहेजा नहीं गया हो, प्रिंटर के मेमोरी में संग्रहीत किए जाते हैं तो यह जल जाता है। |