
|
|
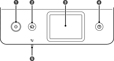
A nyomtató ki- és bekapcsoló gombja. Húzza ki a tápkábelt, miután ellenőrizte, hogy a jelzőfény kialudt. |
|
|
Főképernyő megjelenítése. |
|
|
Menük és üzenetek megjelenítése. |
|
|
Megjeleníti a megoldásokat, amikor Ön bajban van. |
|
|
Akkor jelenik meg, ha a készülék memóriájában olyan beérkezett dokumentumok vannak, amelyeket még nem olvasott el, nem nyomtatott ki vagy nem mentett el. |