
|
|
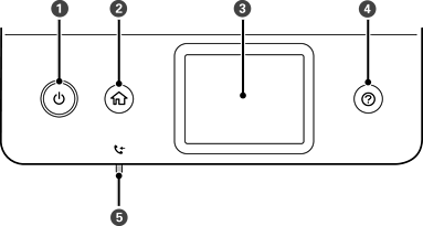
Consente di accendere o spegnere la stampante. Dopo aver verificato che la spia di alimentazione sia spenta, scollegare il cavo di alimentazione. |
|
|
Consente di visualizzare la schermata iniziale. |
|
|
Consente di visualizzare menu e messaggi. |
|
|
Mostra le soluzioni quando ci si trova in difficoltà. |
|
|
Si accende quando nella memoria della stampante sono memorizzati documenti ricevuti non ancora letti, stampati o salvati. |