
|
|
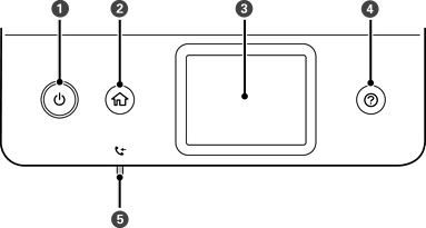
Принтерді қосады немесе өшіреді. Қуат шамы өшірілгенін тексергеннен кейін, қуат сымын ажыратыңыз. |
|
|
Негізгі экранды көрсетеді. |
|
|
Мәзірлер мен хабарларды көрсетеді. |
|
|
Ақаулық болғанда шешімдерді көрсетеді. |
|
|
Әлі оқылмаған, басып шығарылмаған немесе сақталмаған алынған құжаттар принтер жадында сақталған кезде қосылады. |