打印
打印
目錄
ET-5185 Series L6499 Series
進階使用說明
搜尋
>
控制面板使用說明
>
控制面板
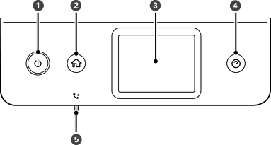
控制面板
開啟或關閉印表機的電源。
檢查電源指示燈號熄滅後,拔下電源連接線。
顯示主畫面。
顯示功能表及訊息。
您遇到問題時,顯示解決方案。
在尚未讀取、列印或儲存的已接收文件儲存至印表機的記憶體時亮起。
打印選定的頁面