
|
|
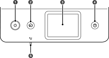
Увімкнення або вимкнення принтера. Витягніть кабель живлення, переконавшись, що індикатор живлення згас. |
|
|
Відображає головний екран. |
|
|
Відображає меню та повідомлення. |
|
|
Відображає рішення, якщо виникла проблема. |
|
|
Вмикається, коли у пам’яті принтера зберігаються отримані документи, які ще не були прочитані, роздруковані або збережені. |