
|
|
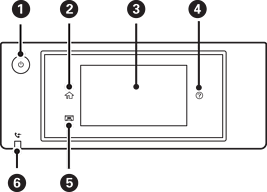
Ενεργοποιεί ή απενεργοποιεί τον εκτυπωτή. Βγάλτε το καλώδιο τροφοδοσίας από την πρίζα όταν σβήσει η λυχνία λειτουργίας. |
|
|
Εμφανίζει την αρχική οθόνη. |
|
|
Εμφανίζει τα μενού και τα μηνύματα. Μπορείτε να αλλάξετε τη γωνία του πίνακα ελέγχου. Όταν δεν εκτελούνται λειτουργίες για μια συγκεκριμένη χρονική περίοδο, ο εκτυπωτής εισέρχεται σε κατάσταση αναστολής λειτουργίας και η οθόνη σβήνει. Πατήστε οπουδήποτε στην οθόνη αφής για να ενεργοποιήσετε την προβολή. Ανάλογα με τις τρέχουσες ρυθμίσεις, το πάτημα του κουμπιού λειτουργίας αφυπνίζει τον εκτυπωτή από την κατάσταση αναστολής λειτουργίας. |
|
|
Εμφανίζει την οθόνη Βοήθεια. Εδώ μπορείτε να βρείτε λύσεις σε προβλήματα. |
|
|
Αποθηκεύει τον δίσκο εξόδου. |
|
|
Ανάβει όταν τα ληφθέντα έγγραφα, που δεν έχουν αναγνωσθεί, εκτυπωθεί ή αποθηκευτεί ακόμα, αποθηκεύονται στη μνήμη του εκτυπωτή. |