
|
|
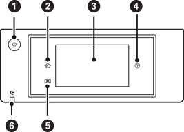
Kytkee tulostimeen virran ja katkaisee sen. Irrota virtajohto, kun virtavalo on sammunut. |
|
|
Näyttää aloitusnäytön. |
|
|
Näyttää valikot ja viestit. Voit muuttaa ohjauspaneelin kulmaa. Jos laitetta ei käytetä tietyn ajan kuluessa, tulostin siirtyy lepotilaan ja näyttö sammuu. Voit käynnistää näytön uudelleen napauttamalla sitä mistä tahansa kohdasta. Tulostimen voi herättää lepotilasta virtapainiketta painamalla (asetuksista riippuen). |
|
|
Tuo näkyviin Ohje -näytön. Voit etsiä ratkaisuja ongelmiin tästä. |
|
|
Asettaa luovutustason paikoilleen. |
|
|
Syttyy, kun vastaanotetut mutta ei vielä luetut, tulostetut tai tallennetut asiakirjat tallennetaan laitteen muistiin. |