
|
|
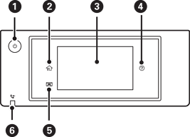
Consente di accendere o spegnere la stampante. Quando la spia di alimentazione è spenta, è possibile scollegare il cavo di alimentazione. |
|
|
Consente di visualizzare la schermata iniziale. |
|
|
Consente di visualizzare menu e messaggi. È possibile modificare l’angolo del pannello di controllo. In caso di inattività per un determinato periodo di tempo, la stampante entra in modalità di riposo e il display si spegne. Toccare un punto qualsiasi del touchscreen per accendere il display. A seconda delle impostazioni correnti, quando viene premuto il pulsante di accensione la stampante viene riattivata dalla modalità di sospensione. |
|
|
Visualizza la schermata Guida. Dove è possibile consultare le soluzioni ai problemi. |
|
|
Consente di memorizzare il vassoio uscita. |
|
|
Si accende quando nella memoria della stampante sono memorizzati documenti ricevuti non ancora letti, stampati o salvati. |