
|
|
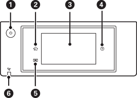
프린터의 전원을 켜거나 끕니다. 전원 표시등이 꺼지고 나서 전원 코드를 분리하십시오. |
|
|
홈 화면을 표시합니다. |
|
|
메뉴와 메시지가 표시됩니다. 제어판의 기울기를 조정할 수 있습니다. 일정 시간 동안 아무런 동작이 이루어지지 않으면 프린터가 절전 모드로 진입되며 화면이 꺼집니다. 화면을 켜려면 터치 스크린을 아무 곳이나 누르십시오. 현재 설정에 따라 전원 버튼을 누르면 프린터의 절전 모드가 해제됩니다. |
|
|
도움말 화면이 표시됩니다. 여기에서 문제에 대한 해결책을 확인할 수 있습니다. |
|
|
배출 트레이를 보관합니다. |
|
|
프린터의 메모리에 아직 열람하지 않았거나 인쇄 또는 저장되지 않은 수신 문서가 저장되어 있는 경우에 켜집니다. |