
|
|
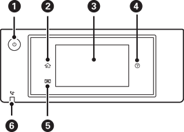
Принтерді қосады немесе өшіреді. Қуат шамы өшірілген кезде қуат сымын ажыратыңыз. |
|
|
Негізгі экранды көрсетеді. |
|
|
Мәзірлер мен хабарларды көрсетеді. Басқару тақтасының бұрышын өзгертуге болады. Белгілі бір уақыт аралығында ешқандай әрекет орындалмаған кезде, принтер ұйқы режиміне өтіп, дисплей өшеді. Дисплейді қосу үшін, сенсорлық экранның кез келген жерін түртіңіз. Ағымдағы параметрлерге байланысты, қуат түймесін бассаңыз, принтерді ұйқы режимінен оятады. |
|
|
Анықтама экранын көрсетеді. Осы жерден проблемалардың шешімдерін тексеруге болады. |
|
|
Шығыс науасын сақтайды. |
|
|
Әлі оқылмаған, басып шығарылмаған немесе сақталмаған алынған құжаттар принтер жадында сақталған кезде қосылады. |