
|
|
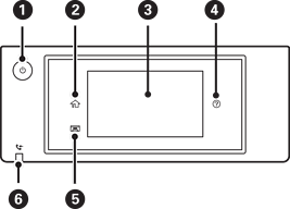
Го вклучува или исклучува печатачот. Откачете го кабелот за напојување кога е изгаснато светлото за напојување. |
|
|
Го прикажува почетниот екран. |
|
|
Прикажува менија и пораки. Може да го менувате аголот на контролната табла. Кога не извршува задачи одреден временски период, печатачот влегува во режим на мирување и екранот се исклучува. Допрете каде било на екранот на допир за да го вклучите екранот. Во зависност од тековните поставки, со притискање на копчето за напојување печатачот се буди од режимот на спиење. |
|
|
Го прикажува екранот Помош. Може да ги проверите решенијата за проблеми од овде. |
|
|
Ја складира излезната фиока. |
|
|
Се вклучува кога примените документи, коишто сè уште не се прочитани, отпечатени или зачувани, се складираат во меморијата на печатачот. |