
|
|
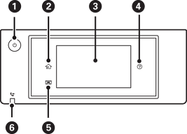
Liga ou desliga a impressora. Desligue o cabo de alimentação quando o indicador luminoso de alimentação estiver desligado. |
|
|
Apresenta o ecrã inicial. |
|
|
Apresenta os menus e mensagens. Pode alterar a inclinação do painel de controlo. Quando não forem realizadas operações por um período específico de tempo, a impressora entra no modo de hibernação e o ecrã desliga-se. Toque em qualquer lugar no ecrã tátil para ativar o ecrã. De acordo com as definições atuais, ao pressionar o botão de alimentação, a impressora sai do modo de suspensão. |
|
|
Exibe o ecrã Ajuda. Pode procurar soluções para problemas a partir daqui. |
|
|
Guarda o tabuleiro de saída. |
|
|
Acende-se quando documentos recebidos que ainda não foram lidos, impressos ou guardados são guardados na memória da impressora. |