
|
|
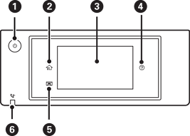
Aktiverar och inaktiverar skrivaren. Dra ur strömkabeln när strömindikatorn är avstängd. |
|
|
Visar startskärmen. |
|
|
Visar menyer och meddelanden. Du kan ändra kontrollpanelens vinkel. Om inga åtgärder utförs inom en viss tid, går skrivaren över i viloläge och skärmen släcks. Tryck någonstans på pekskärmen för att aktivera displayen. Beroende på de aktuella inställningarna väcker ett tryck på strömbrytaren skrivaren från viloläge. |
|
|
Visar skärmen Hjälp. Du kan visa problemlösningar här. |
|
|
Kör in utmatningsfacket. |
|
|
Aktiveras när mottagna dokument som inte är lästa, utskrivna eller sparade finns i skrivarens minne. |