> Посібник до панелі керування > Панель керування

Панель керування

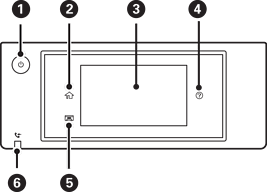
Увімкнення або вимкнення принтера.

Вимкніть кабель живлення після того, як згасне індикатор живлення.

Відображає головний екран.

Відображає меню та повідомлення. Можна змінити кут панелі керування.

Якщо операції не виконуються протягом певного часу, принтер переходить у режим сну та екран вимикається. Торкніться будь-якого місця екрана, щоб увімкнути його. Залежно від поточних налаштувань, натискання кнопки живлення виведе принтер з режиму сну.

Відображає екран Допомога.

Тут ви можете дізнатися, як усувати проблеми.

Зберігає вихідний лоток.

Вмикається, коли у пам’яті принтера зберігаються отримані документи, які ще не було прочитано, роздруковано або збережено.