
|
|
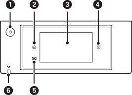
Lülitab printeri sisse või välja. Tõmmake toitekaabel pistikupesast välja, kui toitetuli ei põle. |
|
|
Kuvab avakuva. |
|
|
Kuvab menüüd ja teated. Saate muuta juhtpaneeli nurka. Kui teatud aja jooksul ei tehta ühtegi toimingut, läheb printer unerežiimi ja ekraan lülitub välja. Puudutage ekraani sisselülitamiseks puuteekraani. Sõltuvalt kehtivatest sätetest toob nupu vajutamine printeri unerežiimist välja. |
|
|
Kuvab ekraani Spikker. Siit saate vaadata probleemide lahendusi. |
|
|
Väljastussalve hoidmiseks. |
|
|
Lülitub sisse, kui vastuvõetud dokumendid, mida pole veel loetud, prinditud ega salvestatud, salvestatakse printeri mälus. |