
|
|
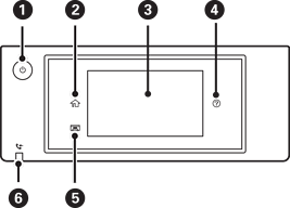
Pornește sau oprește imprimanta. Deconectați cablul de alimentare după stingerea indicatorului de alimentare. |
|
|
Afișează ecranul principal. |
|
|
Determină afișarea meniurilor și mesajelor. Puteți schimba unghiul de înclinare al panoului de comandă. Când nu sunt efectuate operaţii într-un anumit interval de timp, imprimanta intră în modul inactiv şi afişajul se stinge. Atingeți orice porțiune a ecranului tactil pentru a activa afișajul. În funcție de setările curent, apăsarea butonului de alimentare activează imprimanta din modul de repaus. |
|
|
Afișează ecranul Ajutor. Puteți căuta soluții pentru probleme de aici. |
|
|
Depozitează tava de ieșire. |
|
|
Se aprinde atunci când în memoria imprimantei există documente necitite, neimprimate sau nesalvate. |