
|
|
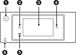
Umožňuje zapnúť alebo vypnúť tlačiareň. Napájací kábel odpojte, keď kontrolka napájania zhasne. |
|
|
Zobrazuje domovskú obrazovku. |
|
|
Zobrazuje ponuky a hlásenia. Môžete zmeniť uhol ovládacieho panela. Keď sa po určitú dobu nevykonajú žiadne činnosti, tlačiareň prejde do režimu spánku a obrazovka sa vypne. Klepnutím kdekoľvek na obrazovku zapnete displej. V závislosti od aktuálnych nastavení prebudí stlačenie vypínača tlačiareň z režimu spánku. |
|
|
Zobrazuje obrazovku Pomocník. Odtiaľto môžete skontrolovať riešenia problémov. |
|
|
Zatvára výstupný zásobník. |
|
|
Svieti, ak sú v pamäti zariadenia uložené prijaté dokumenty, ktoré ešte neboli prečítané, vytlačené alebo uložené. |