
|
|
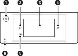
Vklopi ali izklopi tiskalnik. Napajalni kabel odklopite, ko je lučka napajanja izklopljena. |
|
|
Prikaže začetni zaslon. |
|
|
Prikaže menije in sporočila. Kot nadzorne plošče lahko spremenite. Če določen čas ne izvedete nobenega postopka, tiskalnik preklopi v način spanja, zaslon pa se izklopi. Tapnite kjer koli na zaslonu na dotik, da vklopite zaslon. Če pritisnete gumb za vklop/izklop, preklopite tiskalnik iz načina spanja, odvisno od trenutnih nastavitev. |
|
|
Prikaže zaslon Pomoč. Od tu lahko preverite rešitve za težave. |
|
|
Shrani izhodni pladenj. |
|
|
Vklopi se, ko so v pomnilniku tiskalnika shranjeni prejeti dokumenti, ki še niso prebrani, natisnjeni ali shranjeni. |