> Valdymo skydelio vadovas > Valdymo skydelis

Valdymo skydelis

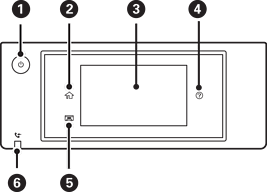
Įjungiamas arba išjungiamas spausdintuvas.

Užgesus maitinimo lemputei atjunkite maitinimo laidą.

Atidaromas pradžios ekranas.

Pateikiami meniu ir pranešimai. Jūs galite keisti valdymo skydelio kampą.

Jei tam tikrą laiko tarpą neatliekama jokia operacija, spausdintuvas pereina į miego režimą ir ekranas išsijungia. Palieskite bet kur jutikliniame ekrane, norėdami įjungti ekraną. Priklausomai nuo tuo metu nustatytų nuostatų, paspaudus maitinimo mygtuką spausdintuve išjungiamas miego režimas.

Rodomas Pagalba ekranas.

Problemų sprendimus galite rasti čia.

Išsaugo išvesties dėklą.

Užsidega, kai priimti ir dar neskaityti, neišspausdinti arba neįrašyti dokumentai saugomi spausdintuvo atmintyje.