
|
|
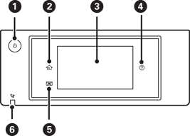
Hiermee schakelt u de printer in of uit. Haal het netsnoer uit het stopcontact als het aan/uit-lampje uit staat. |
|
|
Hiermee opent u het startscherm. |
|
|
Hiermee geeft u menu's en berichten weer. U kunt het bedieningspaneel in een andere hoek zetten. Wanneer er gedurende een bepaalde periode geen bewerkingen worden uitgevoerd, gaat de printer in slaapstand en wordt het scherm uitgeschakeld. Tik op het touchscreen om het scherm in te schakelen. Afhankelijk van de huidige instellingen wordt de printer uit de slaapstand gehaald als u op de aan/uit-knop drukt. |
|
|
Hiermee wordt het scherm Hulp weergegeven. Hier kunt u oplossingen voor problemen bekijken. |
|
|
Hiermee bergt u de uitvoerlade op. |
|
|
Gaat branden wanneer ontvangen documenten die nog niet gelezen, afgedrukt of opgeslagen zijn, in het geheugen van de printer staan. |