以下の条件を満たす場所に設置してお使いください。
本製品の質量に十分耐えられる、水平で安定した場所
風通しのよい場所
本製品の通気口を塞がない場所
専用の電源コンセントが確保できる場所
用紙のセットや印刷した用紙の取り出しが無理なく行える場所
本書『動作時と保管時の環境仕様』を満たす場所
以下のような場所には設置しないでください。動作不良や故障の原因になります。
直射日光の当たる場所
温度変化の激しい場所
火気のある場所
揮発性物質のある場所
振動の多い場所
テレビ・ラジオに近い場所
ホコリや塵の多い場所
湿度変化の激しい場所
水に濡れやすい場所
冷暖房器具に近い場所
加湿器に近い場所
静電気の発生しやすい場所では、市販の静電防止マットなどを使用して静電気の発生を防いでください。
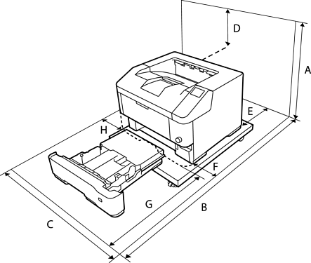
また、本製品をお使いいただくために必要なスペースを確保してください。

|
A |
830mm |
|
B |
1210mm |
|
C |
890mm |
|
D |
400mm |
|
E * |
200mm |
|
F |
100mm |
|
G |
600mm |
|
H |
300mm |
* :フェイスアップ排紙トレイを取り付けた場合は500 mm