> オプションの使い方 > ステープルフィニッシャー > ステープルフィニッシャー各部の名称

ステープルフィニッシャー各部の名称

No.

名称

説明

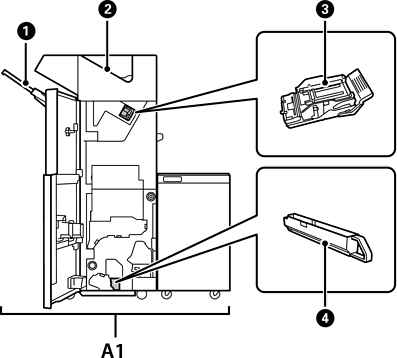
A1

ステープルフィニッシャー

印刷物のソートやステープルをして排紙します。パンチユニットを装着すると、パンチ穴も開けられます。

フィニッシャー下トレイ

排紙された印刷物を保持します。

フィニッシャー上トレイ

主に排紙されたファクスを保持します。

ステープルカートリッジ

平とじ用です。

パンチくずトレイ

パンチくずを受けます。