プリンター台は、増設カセットユニットに取り付けることができます。
作業は電源を切り、電源プラグをコンセントから抜き、全ての配線を外したことを確認してから行ってください。コードが傷付くなどにより、感電・火災のおそれがあります。
プリンター台のキャスターを固定して動かないようにしてから作業をしてください。作業中にプリンター台が思わぬ方向に動くと、けがをするおそれがあります。
プリンターを持ち上げたり、運んだりするときは、少なくとも2名以上で行ってください。用紙カセット1以外が取り付けられている場合は、それらの用紙カセットを取り除いてください。プリンターを持ち上げるときは、下図のように所定の箇所に手をかけて2名以上で持ち上げてください。

プラス形状で適切なサイズのドライバーを使ってください。形状やサイズが適切でない場合、ネジを回せなかったり、誤って他のネジを外してしまったりするおそれがあります。
本製品では、以下の部品セットを使ってプリンター台を取り付けます。(d)の部品は本製品では使用しません。

ボタンを押してプリンターの電源を切り、電源プラグをコンセントから抜きます。
ケーブル類を外して、プリンターに増設カセットユニットが取り付けられている場合は取り外します。
プリンター台を平らな場所に置き、前側のキャスター2箇所をロックします。
移動時以外はロックして使用してください。

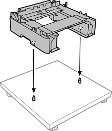
プリンター台の2箇所に、ガイドピン(a)を取り付けます。

一番下の増設カセットユニットをプリンター台にセットします。この時、増設カセットユニットの底部の穴をガイドピン(a)に合わせます。

ネジ(c)を使って左右側面それぞれ1箇所ずつに固定金具(b)を取り付け、増設カセットユニットとプリンター台を固定します。

増設カセットユニットとプリンターを順番に取り付けます。
プリンター本体は、全ての増設カセットユニットをプリンター台に取り付けてから取り付けてください。
用紙カセットは、2段以上同時に引き出さないでください。不安定な状態になって、本体が倒れるなどのおそれがあります。
取り外したケーブル類をつなげて、電源プラグをコンセントに差します。
プリンター台の取り外しは、プリンターの電源を切り、電源プラグをコンセントから抜いて、全ての配線を外したことを確認してから取り付けの逆の手順で作業してください。