
|
|
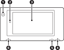
Botó d'encesa Llum d'encesa |
|
|
Botó d'inici Us porta a la pantalla d'inici. |
|
|
Pantalla tàctil Mostra els elements de configuració i els missatges. Si no es realitza cap operació durant un període de temps determinat, la impressora passa al mode de suspensió i la pantalla s'apaga. Toqueu qualsevol punt de la pantalla tàctil per encendre-la. Segons la configuració actual, en prémer el botó d'encesa, la impressora sortirà del mode de suspensió. |
|
|
Llum d'informació Parpelleja quan la impressora està processant informació, i s'encén quan hi ha treballs en espera de processament. |
|
|
Llum d'error S'encén o parpelleja quan es produeix un error. Mostra qualsevol error a la pantalla. |
|
|
Llum de recepció de faxos S'encén quan els documents rebuts encara no s'han processat. |
Podeu inclinar el tauler de control.
