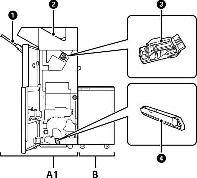
Nom des pièces du finisseur d’agrafage

No

Élément en option

Description

A1

Staple Finisher

Trie et agrafe le papier avant de l’éjecter. Agrafe des trous à l’aide de l’unité d’agrafage de trous.

B

Finisher Bridge Unit

Pour utiliser le finisseur d’agrafage ou le finisseur de livrets, vous devez installer l’unité de transport de finisseur.

Magasin du finisseur

Contient les documents triés ou agrafés.

Bac de sortie

Reçoit principalement les fax reçus.

Cartouche d’agrafage

Pour l’agrafage à plat.

Bac de déchets de perforations

Recueille les déchets de trous de perforation.