Prieš keisdami rašalo kasetes, perskaitykite pateiktas instrukcijas.
Rašalo kasetes laikykite įprastoje kambario temperatūroje, atokiai nuo tiesioginės saulės šviesos.
„Epson“ pataria rašalo kasetę panaudoti iki datos, kuri nurodyta ant pakuotės.
Siekdami geriausių rezultatų, rašalo kasečių pakuotes laikykite padėję dugnu žemyn.
Atnešę rašalo buteliuką iš šaltos laikymo vietos, prieš naudodami, leiskite jam sušilti iki kambario temperatūros bent 12 valandų.
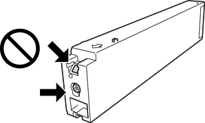
Nelieskite dalių, parodytų paveikslėlyje. Tai padarius su šia kasete nebus įmanoma tinkamai spausdinti ir ji gali tinkamai neveikti.

Įdėkite visas kasetes; priešingu atveju negalėsite spausdinti.
Kol vyksta užpildymas rašalu, neišjunkite spausdintuvo. Kai užpildymas rašalu nėra baigtas, gali nepavykti spausdinti.
Nepalikite spausdintuvo su išimtomis rašalo kasetėmis ir keisdami kasetes neišjunkite spausdintuvo. Priešingu atveju spausdinimo galvutėse likęs rašalas išdžius ir negalėsite spausdinti.
Jeigu reikia laikinai išimti rašalo kasetę, būtinai apsaugokite rašalo tiekimo sritį nuo nešvarumų ir dulkių.Rašalo kasetę laikykite toje pačioje aplinkoje, kaip ir spausdintuvą, rašalo tiekimo angą nukreipkite į šoną.Kadangi rašalo tiekimo angoje yra vožtuvas, skirtas laikyti pertekliniam išleistam rašalui, jums nereikia naudoti savo dangčių ar kištukų.
Išimtose rašalo kasetėse ties rašalo tiekimo anga gali būti rašalo, todėl išimdami kasetes būkite atsargūs, kad rašalo nepatektų ant gretimų paviršių.
Spausdintuvas naudoja rašalo kasetes, tiekiamas su žaliu lustu, stebinčiu informaciją, pvz., kiekvienoje kasetėje likusio rašalo kiekį.Tai reiškia, kad netgi išėmus nesibaigusią kasetę iš spausdintuvo, ją vėl galėsite naudoti įdėdami atgal į spausdintuvą.
Tam, kad būtų užtikrinta aukščiausia spausdinimo kokybė ir apsaugant spausdinimo galvutę, tam tikras rašalo saugos rezervas lieka kasetėje, kai spausdintuvas nurodo ją pakeisti. Į nurodytą kiekį šis kiekis neįeina.
Nors rašalo kasetėse gali būti perdirbtų medžiagų, tai nedaro įtakos spausdintuvo veikimui ar savybėms.
Rašalo kasetės techniniai duomenys ir išvaizda gali būti keičiami tobulinant, iš anksto nepranešus.
Neardykite rašalo kasetės ir nekeiskite jos konstrukcijos, priešingu atveju negalėsite spausdinti normaliai.
Įvertinta išeiga gali skirtis, priklausomai nuo spausdinamų vaizdų, naudojamo popieriaus rūšies, spausdinimo dažnumo ir aplinkos sąlygų, pvz., temperatūros.
Nemeskite ir netrankykite jo į kietus objektus; priešingu atveju rašalas gali ištekėti.
Siekiant užtikrinti optimalų spausdinimo galvutės našumą, šiek tiek rašalo iš visų kasečių sunaudojama ne tik spausdinant, bet ir atliekant priežiūros veiksmus, pavyzdžiui, valant spausdinimo galvutę.
Su jūsų spausdintuvu tiekiamų rašalo kasečių rašalas dalinai sunaudojamas pirminio paruošimo metu. Siekiant gauti aukštos kokybės spaudinius, spausdintuvo spausdinimo galvutė bus pilnai užpildyta rašalu. Tam sunaudojamas tam tikras rašalo kiekis, todėl šios kasetės gali išspausdinti kiek mažiau lapų, lyginant su paskesnėmis rašalo kasetėmis.