Izlasiet tālāk sniegtās instrukcijas, pirms veicat tintes kasetņu nomaiņu.
Uzglabājiet tintes kasetnes normālā istabas temperatūrā un aizsargājiet tās no tiešiem saules stariem.
Uzņēmums Epson iesaka izlietot tintes kasetni pirms datuma, kas norādīts uz iepakojuma.
Lai nodrošinātu augstāko kvalitāti, glabājiet tintes kasetņu iepakojumus ar apakšējo daļu uz leju.
Ja tintes kasetne tiek glabāta aukstā vietā un pēc tam tiek ienesta iekštelpās, pirms kasetnes lietošanas tai vismaz 12 stundas jāuzsilst istabas temperatūrā.
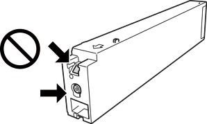
Nepieskarieties attēlā norādītajām detaļām. Citādi printera normāla darbība un drukāšana var būt neiespējama.

Uzstādiet visas tintes kasetnes, citādi printeris nedrukās.
Neizslēdziet printeri tintes uzpildes laikā. Ja tintes uzpildīšana nav pabeigta, drukāšana var būt neiespējama.
Neatstājiet printeri ar izņemtām tintes kasetnēm un neizslēdziet printeri kasetņu nomaiņas laikā. Citādi tinte, kas ir palikusi drukas galviņas sprauslās, izžūs un drukāšana var būt neiespējama.
Ja jums ir īslaicīgi jāizņem tintes kasetne, nepieļaujiet tintes padeves zonā iekļūt netīrumiem un putekļiem.Glabājiet tintes kasetni tajā pašā vietā, kur glabājat printeri, ar tintes padeves portu uz sāniem.Nav nepieciešams nodrošināt savus vāciņus vai aizbāžņus, jo tintes padeves portam ir paredzēts vārsts, kas ir domāts liekās tintes izplūdei.
Izņemtām tintes kasetnēm padeves porta apvidū var būt tinte, tādēļ, izņemot kasetnes, uzmanieties, lai nesasmērētos ar tinti.
Printerim tiek izmantotas tintes kasetnes, kam ir paredzēta zaļa mikroshēma, kas pārvalda informāciju, piemēram, atlikušās tintes daudzumu katrā kasetnē.Tas nozīmē, ka pat tad, ja kasetne tiek izņemta no printera pirms tā kļūst tukša, to joprojām var lietot pēc atkārtotas ievietošanas atpakaļ printerī.
Lai nodrošinātu visaugstāko drukāšanas kvalitāti un aizsargātu drukas galviņu, brīdī, kad printeris norāda par kasetnes nomaiņas nepieciešamību, kasetnē vēl paliek noteikts daudzums tintes drošības rezervei. Atlikušais noteiktais tintes daudzums neietver šo rezervi.
Lai gan tintes kasetnes var saturēt pārstrādātus materiālus, tas neietekmē printera darbību vai sniegumu.
Tintes kasetnes specifikācija un izskats var tikt mainīts bez iepriekšēja brīdinājuma par uzlabojumu veikšanu.
Neatveriet vai nepārveidojiet tintes kasetni, citādi normāla drukāšana var kļūt neiespējama.
Vienas kasetnes izdrukāto lapu skaits ir atkarīgs no drukājamiem attēliem, izmantotā papīra veida, drukāšanas biežuma un vides apstākļiem, piemēram, temperatūras.
Nenometiet tintes kasetni uz cietiem priekšmetiem vai nesitiet pret tiem, citādi tinte var izplūst.
Lai nodrošinātu optimālu drukas galviņas darbību, no visām kasetnēm tiek patērēts nedaudz tintes ne tikai drukāšanas laikā, bet arī apkopes darbību laikā, piemēram, drukas galviņas tīrīšanas laikā.
Printera komplektā ietvertajās tintes kasetnes iepildītā tinte tiek daļēji izlietota sākotnējās uzstādīšanas laikā. Lai nodrošinātu augstas kvalitātes izdrukas, drukas galviņai printerī jābūt pilnībā pildītai ar tinti. Šī vienreizējā procesa laikā tiek patērēts noteikts daudzums tintes, tādēļ šīs kasetnes var izdrukāt mazāku lapu skaitu salīdzinājumā ar nākamajām kasetnēm.