
|
|
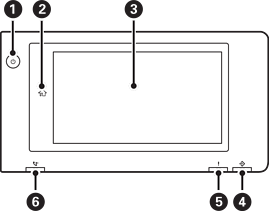
Ieslēgšanas/izslēgšanas poga Barošanas indikators |
|
|
Sākuma poga Tiek atvērts sākuma ekrāns. |
|
|
Skārienekrāns Parāda iestatījumu parametrus un ziņojumus. Ja noteiktā laika periodā netiek veiktas nekādas darbības, printeris ieslēdz miega režīmu un displejs izslēdzas. Pieskarieties jebkurā skārienekrāna vietā, lai ieslēgtu displeju. Atkarībā no pašreizējiem iestatījumiem, nospiežot ieslēgšanas/izslēgšanas pogu, printeris tiek pamodināts no miega režīma. |
|
|
Datu indikators Mirgo brīdī, kad printeris apstrādā datus, un iedegas, ja ir darbi, kas gaida apstrādi. |
|
|
Kļūdas indikators Iedegas vai mirgo, ja rodas kļūda. Kļūda tiek parādīta ekrānā. |
|
|
Faksa saņemšanas indikators Iedegas, kad tiek saņemti dokumenti, kas vēl nav apstrādāti. |
Vadības paneli var sasvērt.
