Lees de volgende instructies voordat u inktpatronen vervangt.
Bewaar de inktpatronen bij normale kamertemperatuur en houd ze uit de buurt van direct zonlicht.
Het is raadzaam de cartridge te gebruiken vóór de datum die op de verpakking wordt vermeld.
Voor de beste resultaten bewaart u inktpatroonverpakkingen met de onderkant naar beneden.
Nadat u een inktpatroon uit koude opslag haalt, moet u dit minstens 12 uur laten opwarmen tot kamertemperatuur voordat u dit gebruikt.
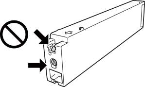
Raak de in de figuur getoonde onderdelen niet aan. Omdat dit de normale werking kan schaden.

Installeer alle cartridges, anders kunt u niet afdrukken.
Schakel de printer niet uit terwijl de inkt wordt geladen. Als het laden van de inkt niet wordt voltooid, kunt u mogelijk niet afdrukken.
Zorg ervoor dat er altijd inktpatronen in de printer zijn geplaatst en schakel de printer niet uit tijdens het vervangen van inktpatronen. Anders droogt de inkt uit die in de spuitkanaaltjes van de printkop achterblijft en kunt u mogelijk niet afdrukken.
Als u een inktpatroon tijdelijk moet verwijderen, zorgt u dat u het inkttoevoergebied beschermt tegen vuil en stof. Bewaar het inktpatroon op dezelfde plaats als de printer, met de inkttoevoerpoort naar de zijkant. Omdat de inkttoevoerpoort is uitgerust met een klep die is ontworpen om het vrijgeven van een teveel aan inkt tegen te houden, hoeft u zelf geen deksel of dop te verschaffen.
Bij verwijderde cartridges kan er inkt rondom de inkttoevoer zitten. Wees dus voorzichtig dat er geen inkt in de omgeving van de cartridge wordt gemorst wanneer de cartridges worden verwijderd.
Deze printer gebruikt inktpatronen die zijn uitgerust met een groene chip die informatie bijhoudt, zoals de hoeveelheid resterende inkt voor elk inktpatroon. Dit betekent dat zelfs wanneer het inktpatroon uit de printer wordt verwijderd voordat het leeg is, u het inktpatroon nog steeds kunt gebruiken nadat u het weer in de printer plaatst.
Voor een optimale afdrukkwaliteit en bescherming van de printkop blijft een variabele inktreserve in de cartridge achter op het moment waarop de printer aangeeft dat u de cartridge moet vervangen. De opgegeven capaciteiten bevatten deze reserve niet.
De cartridges kunnen gerecycled materiaal bevatten. Dit is echter niet van invloed op de functies of prestaties van de printer.
Specificaties en uiterlijk van het inktpatroon zijn onderhevig aan wijziging zonder voorafgaande kennisgeving voor verbetering.
Haal de inktcartridges niet uit elkaar en breng geen wijzigingen aan cartridges aan. Daardoor kan normaal afdrukken onmogelijk worden.
De opgegeven capaciteit hangt af van de afbeeldingen die u afdrukt, het papier dat u gebruikt, hoe vaak u afdrukt en de omgeving (bijvoorbeeld temperatuur) waarin u de printer gebruikt.
Laat de cartridge niet vallen en stoot deze niet tegen harde voorwerpen, omdat hierdoor inkt kan lekken.
Voor optimale prestaties van de printkop wordt er niet alleen tijdens het afdrukken inkt uit alle cartridges gebruikt, maar ook tijdens onderhoudsactiviteiten, zoals reiniging van de printkop.
De inkt in de cartridges die bij de printer zijn geleverd, wordt deels verbruikt bij de installatie van de printer. De printkop in uw printer is volledig met inkt geladen om afdrukken van hoge kwaliteit te bezorgen. Bij dit eenmalige proces wordt een bepaalde hoeveelheid inkt verbruikt. Met de gebruikte cartridge kunnen daarom wellicht minder pagina's worden afgedrukt dan met volgende cartridges.