Leia as instruções que se seguem antes de proceder à substituição de tinteiros.
Guarde os tinteiros a temperatura ambiente normal e mantenha-os afastados de luz solar direta.
A Epson recomenda a utilização do tinteiro antes da data indicada na embalagem.
Para obter melhores resultados, armazene as embalagens dos tinteiros na vertical.
Depois de retirar o tinteiro guardado de um local frio, deixe-o aquecer à temperatura ambiente pelo menos durante 12 horas antes de o utilizar.
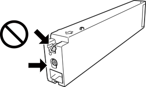
Não toque nas secções indicadas na ilustração. Se o fizer, poderá afectar o processo normal de funcionamento e de impressão.

Instale todos os tinteiros, caso contrário, não poderá imprimir.
Não desligue a impressora durante o carregamento de tinta. Se o carregamento de tinta não for concluído, pode não ser possível imprimir.
Não deixe a impressora sem os tinteiros instalados ou não desligue a impressora durante a substituição dos tinteiros. Caso contrário, a tinta restante nos jatos das cabeças de impressão secará e não poderá imprimir.
Se houver necessidade de remover um tinteiro temporariamente, certifique-se de que protege a área de fornecimento de tinta de pó e sujidade. Armazene o tinteiro no mesmo ambiente que a impressora, com a porta de fornecimento de tinta virada de lado. Dado que a porta de fornecimento de tinta está equipada com uma válvula destinada a conter a fuga de excesso de tinta, não é necessário utilizar outros mecanismos de cobertura, como tampas.
Os tinteiros podem ter tinta à volta da porta de fornecimento de tinta, pelo que deve ter cuidado para não sujar a área circundante com tinta ao removê-los.
Esta impressora utiliza tinteiros equipados com um chip verde que monitoriza informação, como por exemplo, a quantidade de tinta restante em cada tinteiro. Tal significa que, mesmo que o tinteiro seja removido da impressora antes de ficar vazio, ainda é possível utilizar o tinteiro após a sua reinserção na impressora.
Para garantir qualidade de impressão de excelência e ajudar a proteger a cabeça de impressão, uma reserva variável de segurança permanece no tinteiro após a impressora assinalar a necessidade de substituição do tinteiro. O rendimento indicado na sua situação não inclui esta reserva.
Embora os tinteiros possam conter materiais reciclados, tal não afecta a função ou o desempenho da impressora.
As especificações e o aspecto do tinteiro estão sujeitos a alteração para efeitos de melhoramento sem aviso prévio.
Não desmonte nem remodele o tinteiro, caso contrário, poderá não conseguir imprimir normalmente.
Os rendimentos apresentados podem variar consoante as imagens impressas, o tipo de papel utilizado, a frequência das impressões e condições ambientais, como a temperatura.
Não o deixe cair nem permita que embata em objectos rígidos, caso contrário, a tinta pode verter.
Para manter um desempenho perfeito da cabeça de impressão, será consumida alguma tinta de todos os tinteiros, não só durante a impressão, mas também durante operações de manutenção, como a limpeza da cabeça de impressão.
A tinta dos tinteiros fornecidos com a impressora é parcialmente utilizada durante a configuração inicial. De forma a produzir impressões de alta qualidade, a cabeça de impressão da impressora é completamente carregada com tinta. Este processo só ocorre uma vez e consome uma certa quantidade de tinta, pelo que estes tinteiros podem imprimir menos páginas do que os tinteiros posteriores.