
|
Numara |
İsteğe Bağlı Öğe |
Genel Bakış |
|---|---|---|
|
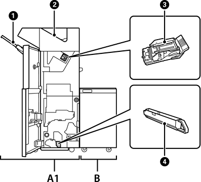
A1 |
Staple Finisher |
Kağıdı çıkarmadan önce sıralar ve zımbalar. İsteğe bağlı delik delme ünitesini kullanarak delikler deler. |
|
B |
Finisher Bridge Unit |
Zımba sonlandırıcısını veya kitapçık sonlandırıcısını çalıştırmak için sonlandırıcı köprüsü ünitesini kurmanız gerekir. |
|
|
Sonlandırıcı Tepsisi |
Sıralı veya zımbalı belgeleri tutar. |
|
|
Çıkış tepsisi |
Temel olarak alınan faksları depolar. |
|
|
Zımba Kartuşu |
Düz dikiş için. |
|
|
Delme Atık Tepsisi |
Delik kırpıntılarını toplar. |