
|
الرقم |
العنصر الاختياري |
نظرة عامة |
|---|---|---|
|
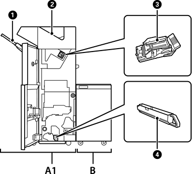
A1 |
Staple Finisher |
لفرز الورق وتدبيسه قبل إخراجه. للثقب باستخدام وحدة الثقب الاختيارية. |
|
B |
Finisher Bridge Unit |
لتشغيل وحدة إنهاء التدبيس أو وحدة إنهاء الكتيب، يجب عليك تثبيت وحدة قنطرة الإنهاء. |
|
|
وحدة الإنهاء |
لحمل المستندات المرتبة أو المدبسة. |
|
|
درج الإخراج |
لتخزين الفاكسات المستلمة بصورة أساسية. |
|
|
خرطوشة التدبيس |
للتدبيس المسطح. |
|
|
درج بقايا عملية التخريم |
لتجميع قصاصات الثقب. |