
|
Nö. |
Şərti Məhsul |
Ümumi baxış |
|---|---|---|
|
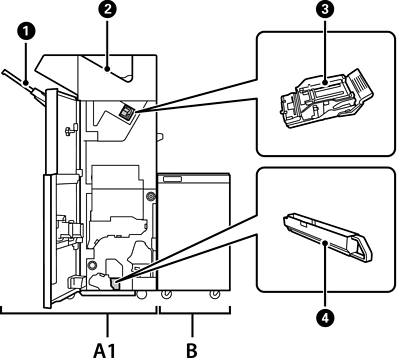
A1 |
Staple Finisher |
Çıxarmazdan əvvəl kağızı çeşidləyir və pərçimləyir. İxtiyari dəlikaçma qurğusundan istifadə edərək dəliklər açır. |
|
B |
Finisher Bridge Unit |
Pərçim tamamlayıcısı və ya broşüra tamamlayıcısını idarə etmək üçün tamamlayıcı körpü qurğusu quraşdırmalısınız. |
|
|
Tamamlayıcı Altlığı |
Sıralanmış və ya pərçimlənən sənədləri saxlayır. |
|
|
Çıxış altlığı |
Əsasən alınmış faksları saxlayır. |
|
|
Pərçim Kartrici |
Düz tikiş üçün. |
|
|
Dəlik üçün Zibil Altlığı |
Dəlik açılmasından qalan artıqları toplayır. |