Перад заменай чарнільных картрыджаў прачытайце наступныя інструкцыі.
Неабходна захоўваць картрыджы з чарніламі пры нармальнай пакаёвай тэмпературы і не дапушчаць трапляння на іх прамых сонечных праменяў.
Epson рэкамендуе скарыстаць картрыджы з чарніламі да даты, пазначанай на ўпакоўцы.
Для дасягнення найлепшай якасці захоўвайце ўпакоўкі з картрыджамі дном уніз.
Калі вы прынеслі картрыдж з халоднага месца, пачакайце, каб ён прагрэўся пры пакаёвай тэмпературы не менш за 12 гадзін, перш чым яго выкарыстоўваць.
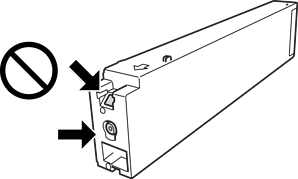
Не дакранайцеся да секцый, паказаных на ілюстрацыі. У адваротным выпадку гэта можа негатыўна паўплываць на якасць друку і працу прылады.

Усталюйце ўсе картрыджы; інакш друк будзе немагчымы.
Не выключайце прынтар падчас запраўкі чарніламі. Калі запраўка чарніламі не завершана, друк можа быць немагчымы.
Не пакідайце прынтар з вынятымі картрыджамі і не выключайце прынтар падчас замены картрыджа. У адваротным выпадку чарнілы, якія засталіся ў соплах друкавальнай галоўкі, высахнуць і друк стане немагчымым.
Пры неабходнасці часова выняць картрыдж упэўніцеся, што вобласць падачы чарніла абаронена ад трапляння бруду і пылу. Захоўвайце картрыдж у тых самых навакольных умовах, што і прынтар, портам падачы чарніла ўбок. У сувязі з тым, што порт падачы чарніла мае клапан, спраектаваны такім чынам, каб захоўваць лішняе чарніла, няма неабходнасці дадаткова аснашчаць яго крышкамі і коркамі.
На знятых картрыджах могуць заставацца чарнілы вакол соплаў, таму будзьце асцярожным падчас вымання картрыджаў, каб нічога не выпацкаць.
У гэтым прынтары выкарыстоўваюцца картрыджы з зялёнай мікрасхемай, якая сочыць за тым, колькі застаецца чарніла для кожнага картрыджа. Гэта значыць, што нават калі картрыдж выняты з прынтара да таго, як быў зрасходаваны, яго можна зноў выкарыстоўваць, паўторна ўставіўшы ў прынтар.
Калі прынтар сігналізуе аб неабходнасці замены картрыджа, для забеспячэння найлепшай якасці друку і аховы друкавальнай галоўкі ў картрыджы застаецца рэзервовы запас чарніл, аб'ём якога можа змяняцца. Рэкамендаваны ўзровень чарніла не ўключае ў сябе гэты рэзерв.
Картрыджы могуць утрымліваць утылізаваныя матэрыялы, але гэта не ўплывае на працу прынтара.
Тэхнічныя характарыстыкі і знешні выгляд картрыджа могуць быць зменены ў мэтах удасканалення без папярэдняга паведамлення.
Не разбірайце картрыдж і не змяняйце яго канструкцыю; гэта можа перашкодзіць нармальнаму друку.
Расход чарніла можа адрознівацца ў залежнасці ад выяў, які вы друкуеце, тыпу паперы, частаты друку і ўмоў навакольнага асяроддзя, напрыклад, тэмпературы.
Не дапушчайце падзенняў і ўдараў картрыджа аб цвёрдую паверхню; гэта можа прывесці да працякання чарніла.
Для падтрымання аптымальнай прадукцыйнасці друкавальнай галоўкі некаторая колькасць чарніла з усіх картрыджаў спажываецца не толькі падчас друку, але і ў час тэхнічнага абслугоўвання, напрыклад, пры ачыстцы друкавальнай галоўкі.
Частка чарніла, якое пастаўляецца разам з прынтарам у картрыджы, выкарыстоўваецца падчас першай наладкі. Для забеспячэння высакаякаснага друку друкавальная галоўка вашага прынтара будзе цалкам запраўлена чарнілам. Гэта аднаразовая аперацыя патрабуе пэўнага аб'ёму чарніла, таму гэтых картрыджаў хопіць на меншую колькасць старонак у параўнанні з наступнай запраўкай.