
|
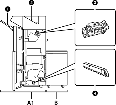
Нумар |
Дадатковы элемент |
Агляд |
|---|---|---|
|
A1 |
Staple Finisher |
Сартуе і сашчапляе паперу, перш чым выняць яе. Прабівае адтуліны, выкарыстоўваючы дадатковы дзіркакол. |
|
B |
Finisher Bridge Unit |
Для працы прашывачнага фінішара або фінішара-брашуроўшчыка неабходна ўсталяваць мост фінішара. |
|
|
Латок фінішара |
Трымае адсартаваныя або сашчэпленыя дакументы. |
|
|
Выходны латок |
У асноўным захоўвае атрыманыя факсы. |
|
|
Картрыдж сашчапляльніка |
Для брашуроўкі ўшыўкай. |
|
|
Латок для адходаў перфарацыі |
Збірае адходы перфарацыі. |