
|
|
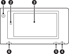
Кнопка сілкавання Індыкатар сілкавання |
|
|
Кнопка галоўнага экрана Дапамагае вярнуцца на галоўны экран. |
|
|
Сэнсарны экран На ім паказваюцца элементы налад і паведамленні. Калі на працягу пэўнага часу не выконваецца ніякіх дзеянняў, прынтар пераходзіць у рэжым чакання і дысплэй адключаецца. Каб уключыць дысплэй, націсніце ў любым месцы на сэнсарным экране. У залежнасці ад бягучых налад пры націсканні на кнопку сілкавання прынтар выходзіць з рэжыму сну. |
|
|
Індыкатар даных Міргае, калі прынтар апрацоўвае даныя, і загараецца, калі ёсць заданні, што чакаюць апрацоўкі. |
|
|
Індыкатар памылкі Загараецца ці міргае, калі адбываецца памылка. Паказвае памылкі на экране. |
|
|
Індыкатар прыняцця факса Загараецца, калі былі атрыманы, але яшчэ не былі апрацаваны дакументы. |
Панэль кіравання можна нахіліць.
