
|
Nr. |
Valgfrit element |
Oversigt |
|---|---|---|
|
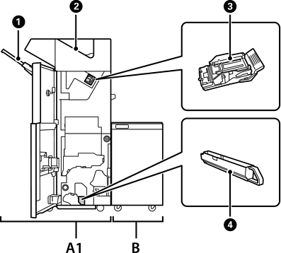
A1 |
Staple Finisher |
Sorterer og hæfter papir, før det skubbes ud. Lave huller med den valgfrie hulningsenhed. |
|
B |
Finisher Bridge Unit |
For at kunne bruge efterbehandleren til hæftning eller efterbehandleren til brochurer skal du først installere efterbehandlerens overgangsenhed. |
|
|
Bakke til efterbehandler |
Rummer sorterede eller hæftede dokumenter. |
|
|
Udbakke |
Opbevarer hovedsageligt modtagne faxer. |
|
|
Hæftepatron |
Til flad hæftning. |
|
|
Beholder til spild fra huller |
Opsamler spild fra huller. |