
|
|
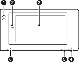
Botón de encendidoIndicador luminoso de encendido |
|
|
Botón de inicio Le devuelve a la pantalla de inicio. |
|
|
Pantalla táctil Muestra los elementos de configuración y los mensajes. Cuando no se usa la impresora durante un período de tiempo específico, ésta entra en el modo de reposo y la pantalla se apaga. Pulse en cualquier parte de la pantalla táctil para activarla. En función de la configuración actual, cuando se pulsa el botón de encendido la impresora sale del modo de suspensión. |
|
|
Luz de datos Parpadea cuando la impresora procesa datos y se enciende cuando hay trabajos en espera de ser procesados. |
|
|
Indicador luminoso de error Se enciende o parpadea cuando se produce un error. Muestra los errores en la pantalla. |
|
|
Luz de recepción de fax Se enciende cuando se reciben documentos que aún no han sido procesados. |
El panel de control se puede inclinar.
